Главная страница » Электрика в театре » Проектирование транзисторных усилителей низкой частоты

1 ... 6 7 8 9 10 11 12 ... 19

Взяв Л1 иТ =Л1нк а ск =1,19, определим необходимую индуктивность перви пой обмотки трансформатора

0,159(2/?к~ -Г,) 0.159(88-6,6)

Уточненное значение тока покоя цепи коллектора /к© , определенное по сквозной динамической характеристике, получилось равным 0,246 а, уточненное значение напряжения питания цепи коллектор-эмиттер найдем из рис 3.16, откуда получим и'кэО =10,8 в Требуемое напряжение источника питания каскада Ёц должно быть равно

к - кэО + /ко макс --\- JaO маке /?э + 2/эО макс R

кэО /кО макс 2 ho макс э 2/кО макс эО -

= 10,8 + 0,32 -f 0,32 1+2 . 0,32 2= 13,46 е.

Пример 3.3. Рассчитаем трансформаторный двухтактный каскад мощного усиления в режиме А с транзисторами, включенными с общей базой, имеющий следующие данные fa =80гц, 1в=7000гц, Л1н<1 дб (М„< 1,12), Рвых =60жег, г<3%, сопротивление нагрузки Л'н =10 ом Каскад должен работать в диапа зоне изменения температуры окружающей среды от +5° до -f 30°С при установке в него любого исправного экземпляра транзистора.

Определим .мощность, которую должен отдавать один транзистор, выбрав кпд выходного трансформатора равным 0,73 в соответствии с табл. 2 3

Р fin . ш-з

P ==-E=: L i =0,0411 em = 4I,l мет.

При кпд каскада в режиме А порядка 0,48 выделяемая в транзисторе при отсутствии сигнала мощность составит

Подходящим для рассчитываемого каскада является германиевый транзистор типа П14А, пмеющий максимальную рассеиваемую мощность Рмакс =150 мет, Рмнн =20, Рмакс =40, наибольший ток коллектора в режиме усиления 20 ма, наибольшую температуру коллекторного перехода Гр[дд =+85°С, тепловое сопротивление от перехода к окружающей среде R-- =0,2°С/л{ег, наибольшее напряжение коллектор-база f/кбдоп =20 в, максимальное значение начального тока коллектора /кнс =10 мка

Для стабилизации режима при изменении температуры и замене транзисторов используем в каскаде эмиттерную стабилизацию Так как транзисторы каскада включены с общей базой, предыдущий каскад берем трансформаторный инверсный В этом случае делитель подачи смещения можно взять общий и схема каскада примет вид, изображенный на рис 3 18 Возьмем подводимое к транзистору напряжение питания коллектор - база f/кбо ориентировочно равным 0,3икбдоп =0,3X20=6 в Для нахождения положения точки покоя определяем необходимый ток покоя

/ко~ 7, = о п ,й' n~vQ а =0,0143 а = 14,3 лгй. 2г1г1 икбо 2 0,48 0,73 .6

На семействе выходных статических характеристик транзистора П14А для включения с общей базой отметим точку покоя (t/кбо =6 в, /кО = 14,3 ма) и про-



еч через нее нагрузочную прямую. При полном использовании транзистор 40 току, так и по напряжению нижняя точка нагрузочной прямой будет ле-


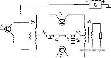
Рис 318 Принципиальная схема двухтактного выходного каскада.

к примеру 3 3

кманс \-

т

Л74А

О


30 25

f5 10

2СГ us,S

Рис 3 19 Выходные характеристики транзисторов П13-П16А для включения с общей базой, к примеру 3 3

жать на горизонтальной оси при £/кб=2/7кбО =12 в, а верхняя точка - на вертикальной оси при /к =2/кО =28,6 яа (рис 3 19). Отсюда сопротивление нагрузки цепи коллектора составит

, ---------. 1 IV

грузки цепи коллектора составит

28,6 . 10

= 420 ом.



Ток смещения эмиттера /эО , соответствующий точке покоя, при Рмин =20 будет равен

г /ко /ко (1 + Рмин) 14.3(1+20)

/эо = --= -й- =-- = 15 ма.

мин Рмин 0

Возьмем амплитуду тока входного сигнала /вх равной 0,98/эо

/вх; = /э„ =0,98 . 15= 14,7 лш

Отметим крайние положения ра-

I I I-1 I-1- бочей точки на нагрузочной прямой

(точки / и 7) для /эот =14,7 ш и найдем мощность сигнала, отдаваемую одним транзистором.


Рис 3 20 Входная характеристика транзисторов П13-П!5 для включения с общей базой, к примеру 3 3

Я~-0,125 (/кмакс /кмин)/?к~ =

= 0,125(28,3-10-3-0,3-10-3)2 .

420= 41,15 - 10-3 вт.

В нагрузку каскад отдаст мощность

Рвых = 2P~-4-v =2 41,15 - 0,73 = 60,2 мет,

1Т0 достаточно По статической вход-03 W A./I характеристике П14А, для вклю- О' чения с общей базой (рис 3 20), перенеся на нее точки 1, 4 и 7 нагрузочной прямой, найдем

2вх??г ~ 2эб те ~ Иэб макс

- Иэбмин =0,288-0,078 = 0,21 в.

Необходимая входная мощность для двух транзисторов каскада составит

2/эб/?г 2/э

= 2-

0,21 - 2 . 14,7 - 10-3

= 1,54 - 10-3 em = 1,54 лет. входное сопротивление одного плеча каскада переменному току равно 2/7эб; 0,21

/?вхоб

2/эте 2 . 14,7 - 10-3 Коэффициент усиления мощности каскада составит

Р^ 60,2

= 7,14 ом

1,54

Предположим, что расчет инверсного каскада дал значения

/?выхоэ1 = 50 ком, А-1 = 300 ом, А-2П = 0,9 ом, п. = 0,05;



тогда его выходное сопротивление будет равно

(/?выхоэ1 + О'г'п + С/вхобЗ + ЗА-зп)

(50 103 +300) 0,052 , (7,14 + 2 . 0,9)

(50 10 + 300) 0,052+(7,14 + 2 . о,9)

= 8,35ол.

Для значения ист =8,35 ож строим сквозную динамическую характеристику, которая приведена на рис 3 21 Таблица расчетных данных (3 2) для этой харак-


Ikmuh

0.6 UucTfi

Рис 3 21 Сквозная динамическая характеристика, к примеру 3 3

теристики приведена ниже Так как сопротивление источника сигнала в данном случае оказалось малым, порядка входного сопротивления самого транзистора, сквозная характеристика получилась сильно криволинейной.

Имея значения /к мии =0,3 ма, /к макс =28,3 ма, определим по сквозной динамической характеристике /2 = 3,25 ма, /кО =9,2 ма. /, = 18,12 жа, пе ф-лам (1 10)

ТАБЛИЦА 32

Номер точки

гк , ма

28,3

23 8

14,3

гэ , ма

29,7

изб . в

0,287

0 278

0,266

0,25

0,226

0,186

0,077

ист=иэб + (э/? ист. в

0,535

0 487

0 433

0,375

0,31

0,23

0 08



айдем значения: /1т=14,29ла, /2 =2,55л(а, /зт = - 0.29 жа, /4=-0,14ла, /ср =11,89 MCL Коэффициент гармоник каскада рассчитываем, положив коэффициент асимметрии 6 = 0,06

V(Ы2,nV + In+{ЫшУ

V(0.06 2.55)2+(-0,29)2 + [0,06(-0,14)? о,023 = 2,3%

что по условию допустимо.

Из рис 3.19 найдем, что уточненное значение напряжения питания коллектор-база и'кбо , соответствующее уточненному току покоя /кО =9,2 ма, состав-ч1яет 8,3 е, тогда

/ко(1+Ц 9,2(1+20) д^

Рмин -0

и Us60 = 0,225 в.

Talc как выходной трансформатор должен обеспечить сопротивление нагрузки цепи коллекторов 2Rk.-- =2X420=840 ом, необходимый коэффициент трансформации составит

= VSt = V 0.73.2. 420 = 2 -

Взяв значение с=0,6, так как в первичной обмотке трансформатора имеется значительная постоянная составляющая тока, найдем сопротивление обмоток:

i = r2-<~(l-T)=T 420(1-0,73) =85,2 олг,

/1-7]. I /1-0,73\

1 + C \

Необходимая индуктивность первичной обмотки трансформатора составит

0,159(2/?k--/-i) 0,159(840-85,2)

fnl/MT-l 80 У 1,122-1

Задавшись падением напряжения на Rs , равным Еэ =0,1 f/кбо =0,83 в, найдем величину Ra , учитывая, что через него течет удвоенное значение тока покоя эмиттера;

D Еа 0,83 ,

= W Ж7 = 2 9,2 . 10-3

(стандартное значение 43 ом, см. приложение 6).

В рассчитываемом каскаде делитель смещения не шунтирует входную цепь; поэтому для улучшения стабилизации его сопротивление можно взять небольшим, исходя из допустимого расхода мощности на делитель Для получения эбо =0,225 в падение напряжения на сопротивлении R2 должно быть равно

Е2Еа + f/эбо =0,83 + 0,225= 1,055 в. Задавшись током через R2, равным 0,3 1а ср , найдем

~ ОЖо ОЖГ ~ 0,3 . 9,2 . 10-3 -2

-(стаидартное сопротивление 360 ом).



Схему стабилизации рассчитаем на изменение температуры н заданном диапазоне н смену транзисторов; определим максимальное и мнннмальное напря-я<ення смещения н максимальное значение начального тока коллектора:

Цэбо макс = f/эбо + 0,0022(20- Гп ми ) = 0,225 + 0,0022 (20 - 5) = 0,258 в, f/збомин = /эбо-0,0022(Гпмакс-20)=0,225-0,0022(60-20)=0,137б,

Гд макс-Тс 60-20

/кнмакс -/кнс -2 ° =10 2 =160 мка,

потагая повышение температуры перехода на 30°С относительно Токриако. т е Г Пмакс =30°+30°=60°С.

Найдем Ri, учитывая, что делитель является общим для двух транзисторов и полагая напряжение источника питания

£к ж кбо + Е, + /ко =8,3+1,055 + 9,2 10

:10 в.

Включив в цепь делителя цепочку фильтра Сф/?ф, как и в примере 3 2, и положив падение напряжения на Рф равным 1 в, получим напряжение на делителе Е'к =Ек -Еф= 0-1=9 в, которое подставим в формулы для Ri и /кО макс

1 + Рми

{Е'к - f/эбомакс) /?э 2/ко мин

(;?э+ /?2)2/к0мин-

(2/кО

мин/?2 эбО макс)

1+20

(9-0,258)-43 2 9,2 . 10

(43 + 360) 2-9,2.10-3 (2.9,2-10-3-360-0,258)

(стандартное сопротивление 1800 ом).

Максимальное значение тока покоя коллекторов составит

= 1990ол1

кОмакс=

1 + Р.

[£к^2-/эбО мин(/?1 + /?2] + /кнмакс1/?э(/?1 + /?2) R1R2]

/?э(/?1 + /?2) +

RlR2 1 + а.

40 1+40

[9-360-0,137(1800+360)]+! 60-10-б[43 (1800 + 360) +1800-360]

43 800 60)-Ь

= 28 ма.

При этом мощность, выделяющаяся в одном транзисторе при отсутствии сигнала, будет равна

Р = Рк -)- Рэ = /кО макс /кбО+/бО макс ЛбО мин=/ко макс f/кбО +

+ Jflu, ИН = 14 - 10-3 . 8,3+ j, . 0,137=0,116 вт.

Рмакс что допустимо.

Повышение температуры перехода прн этом составит

д7п-Р/?тт =0,116 . 0,2 . 103 = 0,0232 103 = 23,2°С,



что даже немного меньше, чем предположенное повышение температуры перехода на 30°С; поэтому максимальный ток коллектора и выделяемая в транзисторе мощность будут меньше найденных.

Требуемое напряжение источника питания каскада должно быть равно

£к = UkQO + /кОмакс -+(2/э0макс Яэ + £эбо) =

2(/ко макс /кн макс) (1 ЬЗмакс ) г> j гг -5- Hs+LJsm

Рмакс

2 - °- ° -><+- .36-Ю,225

= 10,14 е.

3.5. Расчет двухтактного каскада мощного усиления

в режиме В

В режиме В плечи двухтактной схемы работают поочередно, каждое в течение полупериода сигнала; полпериода каждое из плеч как бы отключено от схемы. Для упрощения расчета трансформаторного каскада в режиме В удобно рассчитывать одно плечо схемы вместе с половиной первичной обмотки выходного трансформатора и всей его вторичной обмоткой, так как вторая половина обмотки ,к второе плечо во время работы первого плеча можно считать отключенными.

При этом расчет каскада производят для половины периода сигнала по обычным семействам статических характеристик транзистора, включенного в одно плечо схемы, получая при этом данные, относящиеся ко всему каскаду за период.

Расчет каскада начинают с определения мощности сигнала р

Р = , которую должен отдавать один транзистор, выбрав

кпд выходного трансформатора i].!- в соответствии с указаниями табл. 2.3.

На основании полученных данных и указаний стр. 43-44 выбирают транзистор, способ его включения, схему подачи смешения и составляют принципиальную схему каскада.

Напряжение питания выходной цепи f/o в режиме В берут не выше (0,35-1-0,4) f/выхлоп . где t/выхдоп - максимальное допустимое напряжение между выходными электродами для выбранного способа включения, взятое из справочных данных.

Нагрузочную прямую строят для одного полупериода сигнала на семействе статических выходных характеристик. Сопротивление нагрузки одного плеча выходной цепи переменному току находят из выражения

-п- 0.5°7° . (3.26)

где (7ост - остаточное напряжение. 90



Прн включении с общей базой ~п. , м эмиттером и общим коллектором V нахоляТГ! - выходных характеристик транзистова п7я ЛТ ° семейству эмиттером (рис. з/2) для/аксй включения с общил. сального значения выходного то ка, ориентировочное значение которого определяют по фордгуле

-18x3

0,5 6-0

(3.27)

Для полученного значения / 1 на семействе статических выходных характеристик транзистора проводят нагрузочную прямую через точку Uq на горизон-

ТаЛЬНОИ оси и точку /--= -НЗ


вертикальной оси (рпа 3.23) 3 22 Определение f/ocx по.

При включении с общей базой ориентировочно найденному макси-веркним положением рабочей мальному току /ор (к расчету кас-точкн, определяющим максималь- када в режиме В)

иое значение выходного тока

/макс, является псресбчение нагрузочной прямой с вертикальной осью семейства выходных характеристик, в этом случае


Л/я?

Рис. 3 23. Построение нагрузочной прямой для трансформаторного каскада мощного усиления в режиме В



7макс = гУ°. При включении с общим эмиттером или общим

коллектором верхним положением рабочей точки является пересечение нагрузочной прямой с линией отсечки ОК (рис. 3 23). Максимальное значение выходного тока не должно превышать максимально допустимого тока для выбранного типа транзистора.

Отдаваемую каскадом мощность проверяют по формуле

Р^ = 0,5/2 ,кс/?-П = 0-5(выхО-С/ост)/макс . (3.28)

Есл1и мощность недостаточна, то уменьшают R п. Максимальную мощность, выделяемую на коллекторе транзистора, при работе каскада в режиме В с изменяющейся амплитудой сигнала находят из выражения

P,= 0,318/Wf/o-0-25/ 2.aKc/?~n=0203/ aKc Уо-0,1015/\ кс/?~п,

(3.29)

где / макс =0,637 / дкс .

Необходимые напряжения, ток и мощность входного сигнала находят, как и в режиме А, по входной динамической (или статической) характеристике. Для уменьшения нелинейных искажений при слабых сигналах на базу транзистора относительно эмиттера в режиме В подают небольшое напряжение смещения (вхо от делителя с малым сопротивлением. Величину смещения берут такой, чтобы ток покоя выходной цепи транзистора /о' при отсутствии сигнала составлял (0,05ч-0,1) Гчакс . При таком смещении нелинейные искажения при слабых сигналах получаются небольшими и их можно не учитывать. Для германиевых транзисторов при комнатной температуре обычно необходимое напряжение смещения составляет 0,15-f-0,25 в, для кремниевых 0,5 в и выше.

При работе каскада транзистор нагревается, и поэтому необходимое напряжение смещения получается ниже, чем найденное указанным способом для комнатной температуры Если желательно получить точное значение напряжения смещения для нагретого транзистора, его величину нужно уменьшить на 2 мв на каждый градус повышения температуры перехода относительно 20°С

Отметив положение точки покоя на перпендикуляре к горизон-гальной оси, восстановленном из точки Uo на семействе выходных статических характеристик (рис. 3.23), и найдя /вхо переносят на входную характеристику верхнюю точку Н нагрузочной прямой (точка Н' рис. 3.24) и точки ее пересечения с статическими выходными характеристиками (точки /, 2). Амплитуду входного сигнала Ubkmskc определяют как разность входных напряжений, соответствующих точке покоя и точке Н' входной характеристики.

Далее по точкам на входной и выходной характеристиках строят обычным образом сквозную динамическую характеристику,



тмечают на ней точку, соответствующую половине амплитуды дс, и находят ток Il в этой точке (см. пример 3.4).

Для расчета коэффициента гармоник двухтактного каскада в ежиме В с учетом асимметрии плеч находят /макс, /ь h, Ктл о формулам:

/макс - ( 1 + 6 ) / макс /=(1 + 6)/,

/в=(1+6)/о-(1-6)/о = 2б/о

/2=-(1-6)/,

мин - (1 макс

(3.30)

Значения коэффициента Ъ берут указанные на стр. 79. Амплитуды первых четырех гармонических составляющих выходного тока 1\т, hm, hm, hm нзходят ПО ф-лзм (1 10); среднее значение гока, потребляемое каскадом от источника питания, при максимальном сигнале определяют из выражения /ср =0,637 /макс и рассчитывают коэффициент гармоник по формуле

Jlhm + P:

(3.31)

При хорощем использовании транзистора коэффициент гармоник в режиме В получается значительно выше, чем в режиме А; особенно сильно он возрастает при включении с i-Bx общим эмиттером, достигая десятков процентов, что иногда заставляет отказываться от такого включения. Де-титель смещения в режиме В вносит дополнительные нелинейные искажения из-за снижения р при больщих амплитудах сигнала. Чем меньше сопротивление делителя, тем эти искажения меньше. В режиме В включение с общим эмиттером дает меньший выигрыш, по мощности входного сигнала, чем в режиме А, ввиду сильного падения р при больших токах. Наименьший коэффи-


Рис. 3 24 Входная характеристика транзистора (к расчету каскада в режиме В)



1 ... 6 7 8 9 10 11 12 ... 19

© 2000-2026. Поддержка сайта: +7 495 7950139 добавочный 133270.
Заимствование текстов разрешено при условии цитирования.