Главная страница » Электрика в театре » Проектирование транзисторных усилителей низкой частоты

1 ... 12 13 14 15 16 17 18 19

Колебания напряжения источника питания не должны выходить за пределы, допустимые для усилителя. Если они превышают допустимую величину, источник питания должен быть стабилизирован.

6.4. Расчет допустимой пульсации источника питания

При питании усилителя от выпрямителя амплитуда напряжения пульсации Епт на выходе выпрямителя не должна превосходить допустимой величины, так как напряжение пульсации, попадая через элементы межкаскадной связи в питаемые цепи, вызывает появление фона переменного тока на выходе усилителя. Напряжение пульсации, попадающее на первые каскады усилителя, успливается последующими каскадами, поэтому первый каскад усилителя допускает наименьшее напряжение пульсации, а последний (оконечный)-наибольшее. Для упрощения и удешевления усилительного устройства источник питания (выпрямитель) делают с напряжением пульсаций, допустимым для выходной цепи оконечного каскада, а дальнейшее сглаживание пульсаций производят цепочками Сф /?ф в цепях питания каскадов предварительного усиления. Цепочки Сф одновременно являются развязывающими фильтрами усилителя, ослабляющими паразитную межкаскадную связь через общий источник питания.

Для усилителя с однотактным трансформаторным выходным каскадом, работающим в режиме А, а также для усилителя с двухтактным бесгрансформаторным каскадо.м в режиме А по схеме рис. З.ЗЗб амплитуда допустимого напряжения пульсации выпрямителя определяется выражением

F (0,3-1) (/?выхТр -/?к~) ..7

где /?вых Тр - выходное сопротивление транзистора в точке покоя,

Rk- сопротивление нагрузки в выходной цепи транзистора переменному току, lJuu\m - максимальная расчетная амплитуда напряжения сигнала в выходной цепи, Дс - динамический диапазон сигнала, который для широковещательных усилителей, магнитофонных усилителей и усилителей воспроизведения грамзаписи можно считать равным 100 (40 дб). Для усилителя с двухтактным трансформаторным выходным каскадом Нли бестрансформаторшлм, работающим в режиме В, в ф-ле (6.7) /?к^ заменяют /?kii , а под /?, х трпонимают выходное

сопротивление транзистора прн выходном токе, равном примерно

0,0 / ых макс.

Для усилителя с двухтактным трансформаторным выходным каскадом, работающим п режиме А, н для усилителя с двухтакт-



[biM бестрансформаторным каскадом в режиме А по схеме рис. 3.33а амплитуду допустимого напряжения пульсаций берут р 3-5 раз больше найденной по ф-ле (6.7), так как в этих случаях напряжение пульсаций источника питания компенсируется.

Для усилителя с однотактным реостатным оконечным каскадом в режиме А допустимое напряжение пульсаций выпрямителя находят из выражения

t B - --д-- и вых т , (6.8)

где

/?выхТр Ь /?к

Амплитуду напряжения пульсации выпрямителя не следует допускать более 0,05 Ек , даже если расчет ее допустимой величины по ф-лам (6.7) и (6.8) дает большее значение, так как в противном случае появляется паразитная модуляция сигнала, увеличивающая вносимые каскадом нелинейные искажения, а также уменьшается выходная мощность усилителя.

6.5. Расчет фильтров усилителя на сглаживание пульсаций

Допустимая амплитуда напряжения пульсаций для любой цепи усилителя определяется выражением

лоп =(0,3-1) , (6.9)

где Um - расчетная амплитуда напряжения сигнала в данной цепи,

Рч, - коэффициент передачи напряжения пульсации от зажимов источника питания к рассматриваемой цени. Необходимый (всех последовательно включенных цепочек РфСф) коэффициент сглаживания донолнительных сглаживающих фильтров для любого каскада усилителя определяется выражением

=-# (6.10)

я дои

При расчете последовательно включенных цепочек С , R и мно-гокаекад[юм усилителе но ф-ле (6.10) находят значения фс Л-пя каждого из каскадов, за исключением последнего, получая, таким образом, фс1 для первого каскада, 0с2 для второго каскада н т. д Так как при последовательном включении фильтров их коэффициенты сглаживания нсремножаются, необходимый коэ({)({)Ицн( нт сглаживания каждой из цепочек ф' определяется как отногненне

10 3 ,. 145



найденных из (6.10) значений для данного и следующего кас-кадов:

ф' = 4l , ф' = i- и X д. фс2 фа

По известному коэффициенту сглаживания ф'с цепочки Сф Я емкость фильтра можно найти из формулы

1- 6.28Г„/?ф ~

где fra = /c - основная частота пульсации выпрямителя, равная произведению числа фаз (полупериодов) выпрямителя т на частоту питающей сети fc.

Величину сопротивления R, определяют, исходя из допустимого падения напряжения £ф на нем:

к„ = -~ (6.12)

где /ф - суммарная постоянная составляющая тока, протекающего через /?ф .

6.6. Расчет фильтров усилителя на развязку

Так как фильтры усилителя (цепочки Сф R ) должны ослаблять паразитную межкаскадную обратную связь через общий источник питания до допустимой величины, прн которой она практически не будет влиять на свойства усилителя, необходимый для всех последовательно включенных цепочек Сф/?ф коэффициент развязывания для любого каскада усилителя определится выражением

(0>30,5) J , .

и sUB. ,cniAh,- 1)

где М„ - коэффициент частотных искажений на низшей рабочей частоте каскада, для которого рассчитывается значение фр; f/ 4mc.i- амплитуда напряжения входного сигнала следующего каскада; С„ - выходная емкость фильтра выпрямителя; / - низшая рабочая частота; /вькт - амплитуда переменной составляющей выходного тока оконечного каскада усилителя. Прн расчете цепочек Сф/?фмногокаскадного усилетеля на развязку по ф-ле (6.13) находят значения фр для каждого из каскадов, за исключением последнего, получая в результате фр] - первого каскада, фр2 для второго каскада и т. д. Прн послс,т,ова-



тельном соединении цепочек Сф /?ф их коэффициенты развязывания перемножаются, а поэтому необходимый коэффициент развязывания каждой из цепочек ф'р определяется как отношение найденных нз (6.13) значений фр для данного и следующего каскадов:

Фрг

и т. д.

Ф,г Фр. По известному коэффициенту развязывания ф' цепочек С /?ф емкость фильтра находят из формулы

Г - JSEL~ JL (6 141

6,28/ /Ф 6,28/ /Ф

Определив значение емкости Сф каждой из цепочек из условия сглаживания [ф-ла (6.1!)] и из условия развязки [ф-ла (6.14)] останавливаются на большем значении емкости.

6.7. Схемы транзисторных усилителей

В качестве практических примеров построения схем многокаскадных транзисторных усилителей ниже приведено несколько схем.

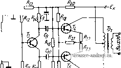
На рис. 6.6 изображена принципиальная схема четыречкаскад-иого усилителя звуковых частот для воспроизведения грамзаписи, преднангачениого для работы на электродинамический гром-

1 Ь,1 i

т


Рис 6 6 Принципиальная схема усилителя вуконых ча юг для воспро изведсния грамзаписи

коговоритель (с выходной мощностью порядка нескольких ватт) Для обеспечения высокого входного сопротивления усилителя, необходимого при работе его от пьезоэлектрического звукоснимателя, в перво.м каскаде использован эмиттерный повторитель с коллекторной стабилизацией рабочей точки, а транзистор второго

10* 147



каскада имеет в эмиттере небольшое сопротивление Rg, не блокированное емкостью для повышения его входного сопротивления.

Цепочка С,/?, на входе усилителя корректирует частотную характеристику звукоснимателя на высших частотах, сопротивление R2 является регулятором усиления, а цепочка C2R3 осуществляет регулировку тембра на низких частотах.

Во втором каскаде для получения наибольшего усиления транзистор включен с общим эмиттером, в нем, как и в последующих каскадах, применена эмиттерная схема стабилизации. Предоконечный каскад - реостатный, инверсный - с разделенной нагрузкой. Двухтактный трансформаторный оконечный каскад работает в режиме А, транзисторы Г4 и Т5 включены с общим эмиттером; отрицательное смещение на них подается с делителей R\6 и /?7, Ris и /?9. Небольшие сопротивления R22 и R23 в цепях эмиттеров включены для уменьшения разбалансировки токов покоя плеч (после прогрева или старения схемы). Цепочки /С? и R20CS являются развязывающими и сглаживающими фильтрами.


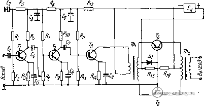
Рис. 6 7. Принципиальная схема усилителя звуковых частот, работающею

от микрофона

На рнс. 6.7 приведена пригщиниальная схема четырехкаскад-иого усилителя звуковых частот, предназначенного для работы от электродинамического микрофона на громкоговорители. Для получения высокого коэффициента усиления транзисторы первых трех каскадов включены с общим эмиттером; для стабилизации рабочей точки в этих каскадах применена эмиттерная стабилизация. Первые два каскада являются реостатными каскадами предварительного усиления, третий каскад - трансформаторный инверсный, работает в режиме А и представляет собой первый каскад мощного усиления. Четвертый каскад усилителя - двухтактный, работает в режиме В и является вторым каскадом мощного усиления. Для обеспечения малого коэффициента гармоник



усилителя и возможности установки любых экземпляров транзисторов в оконечном каскаде транзисторы Л и Г5 включены с общей базой. Необходимое напряжение смещения на транзисторы и

подается от делителя из сопротивлений Ri5R\6\ диод Ду стабилизирует ток покоя каскада при изменении температуры. Для уменьшения потребления мощности делителем смещения оконечного каскада питание предварительного усилителя осуществляется паралле.тьно сопротивлению Rie.

Цепочки C2R5, CsRs, CsRi2 являются развязывающими с сглаживающими фильтрами. Сопротивление Rs выполняет роль регулятора усиления.

На рис. 6.8 приведена принципиальная схема усилителя для мегафона. Здесь первые два каскада, как и в схеме рис. 6.7, реостатные, имеют эмиттерную стабилизацию; третий каскад -


Рис. 6.8. Принципиальная схема усилителя для мегафона

инверсный трансформаторный, также с эмиттерной стабилизацией и н.меет две одинаковые вторичные обмотки. Четвертый (оконечный) каскад усилителя - двухтактный, бестрансформаторный, с общим эмиттером, работает в режиме В. Сопротивления смещения Rn и /?]8 выполнены переменными для выравнивания режима работы плеч.

Оконечный и предоконечный каскады для уменьшения нелинейных и частотных искажений через сопротивление Ris охвачены параллельной по входу отрицательной обратной связью по напряжению. Сопротивление Ri осуществляет регулировку усиления.

На рис. 6.9 приведена схема высококачественного бестрансформаторного усилителя звуковых частот [Л 1, стр. 299, 300] с выходной мощностью 6 вт при коэффициенте гармоник не более 5%. Весь усилитель питается от общего источника питания с на-прялсением 27 в.



П13 тз

О

In

тз тз тз пго

Сб с

IVП >sU 9П

Рис 6У Схема выскокачесгвснчо!о 5сч .и 1еля беч ц.аясфсрматоров с ьычоию мощностью 6 вг



Выходной двухтактный бестрансформаторный каскад на транзисторах Тб и Т& собран по схеме с параллельным (несимметричным) выходом и работает в режиме В. Громкоговорители, являющиеся нагрузкой усилителя, подключаются к выходному каскаду через разделительный конденсатор С]з.

Применение транзисторов типа п-р-п и р-п-р в предоконечном каскаде, выполненном на транзисторах 7$ и Г? позволяет обойтись без входного трансформатора для выходного каскада и без инверсного каскада вообще. Полупроводниковый диод Д1 в четвертом каскаде с транзистором Г4, включенном с общим эмиттером и эмиттерной схемой стабилизации, используется для температурной стабилизации транзисторов Г5, Те, Тт, Ts.

Частотные и нелинейные искажения в усилителе уменьшаются сильной отрицательной обратной связью, подведенной от выходного каскада к базе транзистора Г4.

2 п 3-й каскады с транзисторами Т2 и Г3, включенными с общим эмиттером, также имеют эмиттерную стабилизацию.

Для увеличения входного сопротивления усилителя в.ходной каскад на транзисторе Ту собран по схеме эмиттерного повторителя. Потенциометр Пу является регулятором усиления, потенциометр Яг во втором каскаде изменяет частотную характеристику усилителя на низких частотах, а потенциометр - на высоких частотах.

Ценочкп ЯъС2, RieCi, R26C10 являются развязывающими фильтрами в 1, 2 и 3-м каскадах соответственно.



Конструктивный расчет трансформаторов низкой

частоты

7.1. Выбор сердечника для трансформатора

Конструктивный расчет трансформаторов, предназначенных для трансформирования электрических сигналов -- сигнальных трансформаторов - производят по данным, полученным нз электрического расчета (индуктивности первичной обмотки, индуктивности рассеяния, омическому сопротивлению обмоток, коэффициенту трансформации и т. п.). В конструктивный расчет входят: выбор конструкции трансформатора, выбор маг^ нитного материала для его сердечника, выбор или расчет размеров сердечника, расчет числа витков обмоток н выбор провода для них, расчет размещения обмоток. После конструктивного расчета обычно производят уточнение электрических данных трансформатора по данным конструктивного расчета.

Для трансформаторов транзисторной аппаратуры обычно используются трансформаторы броневой конструк-ции (рис. 7.1). Сердечник трансформатора обычно собирают из пласти!!, штампованных из специальных магнитных материалов (специальной трансформаторной сталп, пермаллоя). Сердечник трансформатора выполняют прямоугольного сечения, собирая его из пластин определенной формы и размеров (на пример, из Ш-образных пластин и перекрышек, см. рис. 7.2). Если немагнитный зазор в сердечнике не нужен, то сборку пластин производят вперекрышку, вставляя Ш-образную пластину поочередно то с одной, с другой стороны катушки трансформатора. Заполнив все отверстие катушки при сборке из пластин двух типов, вставляют в оставшиеся щели второй тип пластин.

При сборке сердечника с немагнитным зазором, необходимым при постоянном подмагничивании сердечника в несколько ампер-витков на сантиметр и выше, в катушку с одной стороны встав-


Рис 71 Трансформатор броневой конструкции




PiK 7 2 Пл.типы для (борки сорчечнпка броионою тр,1ис форматора о) Ш обра имя пластина п псрскрышка, 6) дне одинаконыс Ш обра тыс пластины

пяют пл<1стины одного т!1и<1, а с другой сгороиы прпклаяыпаю! пластины другого Tinia, проложив между обеими частям!! сердечника и юляииоинук) прокладку, устанавливающую нужную вели чнну немагнитного зазора.

Среднюю длину мапштнои сило-кон линии сердечника / входящую в формулы конструктивного расчета трансформатора, можно рассчитать по следующим формулам-

для броиеного сердечника с неодинаковым сечением вдоль магнитной силовой линии ((/з>0,5(/, рис 7 .3)

kh+ У (0,5/г + 6-1-1,18(/5-Ь0,19 ,),

(7.1)

для броневого сердсчпнка с одинаковым сечением вдоль магнитной 1НЛ01шн Л1И!11!1 (г/з = 0.5 1)


Рнс 7 ,S Обозначения рчзмс

рОН броНСиОЮ 1.СрДСЧ1Н1К 1

/,-==2/;+ 2/;+1,57 ,. (7 2)

В гранс(!)орматорах транзпсторпоп аппаратуры изолировать пластины сердечника друг от друга нет необходимости.

Чистое сечение ма1ни!но1о матер!1ала сердечника в катушке трансформатора q также входящее в формулы конструкт!шного расчета, при нрямоу!о.ньпом ссчеп!1н сертсчннка опредечяют но формуле

(7 3)



1 ... 12 13 14 15 16 17 18 19

© 2000-2026. Поддержка сайта: +7 495 7950139 добавочный 133270.
Заимствование текстов разрешено при условии цитирования.